Количката ви в момента е празна!
Продуктови характеристики
Изводи серпентина: Десен извод
Мощност нагревател (опция): 2.0 kW
Управление: механично
Диаметър: 440mm
Височина: 900mm
Монтаж: стенен - вертикален
Серпентина: 1
Тип нагревател: потопяем
Обем: 100л
Гаранция: 5 години
Водосъдържател: емайлиран
Широчина: 440mm
Производител: Sunsystem
Бойлер със серпентина Sunsystem 100л., 2kW, емайлиран, малък диаметър
495,00 лв. (с ДДС)
Този продукт може да бъде закупен на кредит с Ти Би Ай Банк
11 налични
Описание
- Бяла метална обшивка
- Топлоизолацията е от твърд PU
- Титаниев емайл
- Неръждаема тръба за топла вода
- Серпентина
- Анодна защита от корозия на водосъдържателя
- Електрически нагревател
- Стратификатор за студена вода
- Бутон за включване и изключване
- Термодатчик
- Двойна термична защита
- Предпазен клапан (8 bar)
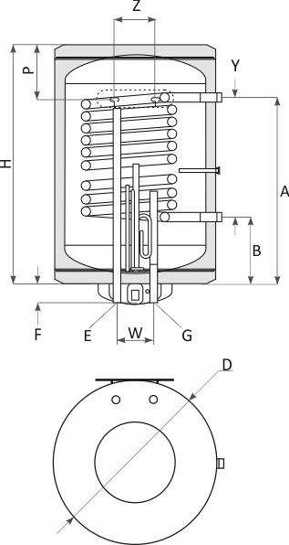
| МОДЕЛ | MB 80 V/H S1 | MB 100 V/H S1 | ||
|---|---|---|---|---|
| Вместимост | l | 80 | 100 | |
| Височина (Дължина) / Дълбочина | mm | 800 (800)/460 | 960 (960)/460 | |
| Диаметър D | mm | ø 440 | ø 440 | |
| Раб.налягане / макс. температура | bar/°C | 8/95 | 8/95 | |
| Налягане на изпитване на бойлера | bar | 13 | 13 | |
| Серпентина | Топлообменна повърхност | m2 | 0.4 | 0.53 |
| Вместимост | l | 2.04 | 2.70 | |
| Продължителна мощност по DIN 4708; 80/60/45 °C |
kW m3/h | 8.2 0.20 |
9 0.22 |
|
| NL – мощностен коеф. при 60°C | 1 | 1.3 | ||
| Загуба на налягане Δp | mbar | 50 | 55 | |
| Раб.налягане / макс. температура на серпентината | bar/°C | 16/110 | 16/110 | |
| Налягане на изпитване на серп. | bar | 25 | 25 | |
| Температурен индикатор | ||||
| Аноден протектор | ||||
| Мощност ел. нагревател | kW | 2/3 | 2/3 | |
| Изход серпентина | A | R¾” 140 (100) |
R¾” 140 (100) |
|
| Вход студена вода | G | R½“ (45) | R½“ (45) | |
| Вход серпентина | B | R¾” 425 (350) |
R¾” 540 (350) |
|
| Изход гореща вода | E | R½“ (356) | R½“ (356) | |
| Размер H (L) | mm | 740 (740) | 900 (900) | |
| Размер F | mm | 60 (60) | 60 (60) | |
| Размер W | mm | 120 | 120 | |
| Размер P | mm | 180 | 180 | |
| Размер X | mm | -380 | -540 | |
| Размер Y | mm | 287 (250) | 400 (250) | |
| Размер Z | mm | 240 (240) | 240 (240) | |
| Тегло Емайл/CrNi | kg | 63/45 | 68/- | |
Допълнителна информация
| Тегло | 68,000 кг |
|---|---|
| Изводи серпентина | Десен извод |
| Мощност нагревател (опция) | 2.0 kW |
| Управление | механично |
| Диаметър | 440mm |
| Височина | 900mm |
| Монтаж | стенен – вертикален |
| Серпентина | 1 |
| Тип нагревател | потопяем |
| Обем | 100л |
| Гаранция | 5 години |
| Водосъдържател | емайлиран |
| Широчина | 440mm |
| Производител | Sunsystem |
Как се осъществява Доставката?
Поръчаните от Вас продукти ще бъдат доставени в най-кратки срокове. Стандартната доставка е в рамките на 2 работни дни. Работим със куриерски фирми Спиди и Еконт. Цената на доставката се формира в зависимост от теглото на продукта и времето за доставяне, изчислява се автоматично след избора за плащане на продуктите от кошницата и избора на куриер. При забавяне на доставката ще бъдете уведомени.
Има възможност да направите онлайн поръчка и да вземете поръчаният продукт от офис на фирма Амиго.
Може ли да се осъществи доставка извън България?
Възможна е доставката на продукти извън България



